1. 서 론
고체내부에 다량의 기공을 포함하는 폼(foam)재료는 경 량, 높은 비강성, 흡음성, 단열성, 높은 충격에너지 흡수 능, 전자파 흡수능 등 치밀한 재료에서는 실현이 어려 운 특징을 갖는 재료이다.1-4) 또한 물리적성질이 기공율 에 따라서 변하기 때문에 구조제어에 따라 특성제어가 가능하다. 따라서 크러쉬 엘리멘트, 생체경화조직 대체재 료, 필터링재료, 잔열재료, 촉매담지체, 기화기 등 여러 분야에 대한 적용을 검토하고 있다. 금속계 포러스재료 에 관한 연구는 제조기술부터 응용전개까지 다수의 보 고가 있지만, 대부분은 경량재료인 알루미늄을 대상으로 한 것이다.5-7) 그러나 금속간화합물은 강도, 강성, 내열 성, 내식성, 생체적합성 등 우수한 성질을 나타내기 때 문에8) 금속간화합물 폼의 개발에 따라 고온용 단열재료, 고온부식성 가스필터 재료 및 고강도·고충격 에너지 흡 수재료 등에 적용할 수 있으므로, 그 제조기술개발이 주 목되고 있다. 금속간화합물 제조방법의 하나로서, 금속간 화합물을 구성하는 원소분말 간의 화학반응 및 반응열 을 이용하여 재료합성과 동시에 고화도 시킬 수 있는 연 소합성법9)이 있다. 연소합성법은 합성시간이 매우 짧고, 외부로부터 에너지 투입량이 대단히 적은 프로세스이며, 그 밖의 특징으로서는 합성 후의 시료가 다공질로 된다 는 것이다. Fig. 1에 연소합성법을 이용한 Al-Ni계 금속 간화합물 폼 제조방법의 개략도를 나타내었다.

Fig. 1
Schematic illustration of combustion synthesis of Al3Ni foam with dispersion of TiC and TiB2 particles.
금속간화합물을 구성하는 원소분말(Al분말, Ni분말)을 혼 합하고, 특히 반응열량을 높게 할 목적으로 Ti와 B4C분 말을 첨가한다. 혼합분말을 압축하여 포러스재료의 전구 체(precursor)를 제작한다. 전구체의 일부 또는 전체를 가 열하면, 식 (1)과 (2)에 나타낸 원소분말 간의 반응에 의 해 Al3Ni 및 세라믹입자(TiB2, TiC)가 생성된다.
이 때 분말표면의 흡착성분이나 분말내부의 고용수소 가 가스화 되는 것이 기공생성의 메커니즘이다. 기공율 은 Ti, B4C분말의 첨가량에 따라 최대 90 % 범위까지 제어할 수 있다. 이것은 Ti, B4C분말의 첨가에 의해 연 소온도를 상승시킨 결과 연소합성 시의 액상율이 증가 하여 기공성장이 용이하게 되기 때문이다. Al/Ni 혼합비 는 3.0 보다 5.0 미만의 범위 내에서 Al-rich로 되는 것 에 의해 과승인 알루미늄이 연소합성될 때 액상으로 되 어 기공율이 상승한다고 보고되어 있다.10)
일반적으로 폼 재료는 할로우(hollow) 부재 내부의 충 진재로서 사용되는 경우가 많고, 실용부재로서의 금속간 화합물 폼 제작을 고려하면, 할로우 부재와 일체화된 복 합구조체11-13) 제조기술을 개발하는 것이 필요하다고 판 단된다. 따라서 본 연구에서는 할로우 파이프 내에서 Al- Ni 전구체의 연소합성 발포에 의해 Al3Ni 폼과 할로우 파이프와의 복합구조체를 제작하여 폼의 충진성 및 기 공상태(크기, 형상, 분포 등)를 조사하는 것을 목적으로 하였다.
2. 실험 방법
본 실험에 사용한 원료분말은 Al분말(입자직경: < 45 μm, 순도: 99.9 %), Ni분말(입자직경: 3-5 μm, 순도: 99.9 %), 반응계의 열량을 높게 할 목적으로 Ti분말(입자직경 : < 45 μm, 순도: 99.5 %), B4C분말(입자직경: < 10 μm, 순도: 99 %) 이다. Al분말과 Ni분말의 혼합비는 높은 기공율 폼이 형성되는 4.5:1(mol비)로 하였다. Ti분말과 B4C분말은 Ti/B4C mol비를 3.0으로 혼합하여 Al-Ni 혼합분말에 배합하였다. 배합량은 Al-Ni간 반응생성물 (Al3Ni+1.5Al)에 상당하는 TiC, TiB2입자의 체적배합률이 5 %가 되게 하였다. 이와 같은 원료분말을 스틱을 사용 하여 수동으로 30분 동안 혼합하였으며, 이 혼합분말을 200 MPa로 압축하여 직경 25 mm, 높이 28 mm인 원주 형상의 전구체를 제작하였다. 전구체는 스틸로 제작한 할 로우 파이프(SUS316L, 내경 30 mm 및 40 mm, 두께 1.2 mm)와 함께 Fig. 2에 나타낸 것처럼 내경 63 mm인 흑 연도가니 내에 설치하였다. 흑연도가니는 적외선 가열로 를 사용하여 Ar 분위기에서 12 °C/min로 연소합성반응이 일어날 때까지 계속 가열하였으며, 연소합성반응의 시작 을 눈으로 확인하였다. 연소합성이 끝난 후 바로 가열 을 중지하였으며, 노냉하였다. 할로우 파이프를 설치하지 않은 자유발포는 내경 63 mm인 흑연도가니 내에서 실 시하였다.
연소합성이 끝난 시료는 파이프의 장축방향으로 절단 하여 단면을 관찰하였다. 단면 이미지는 화상해석장치를 사용하여 기공주변의 길이, 면적, 수직 및 수평길이를 측 정하였다. 기공형상을 표현하는 지표로서 원형도(4π ×면 적 ÷ 주변길이2), 면적에 상당하는 원 직경[(면적 ÷ π)0.5× 2], 수직/수평길이비(기공을 에워싸는 형상의 수직변/수평 변 길이의 비)를 산출하였다. 원형도는 0.0~1.0 사이에서 변화하는 값이며, 기공형상이 동그라미라면 1.0이며, 불 규칙형상이 됨에 따라 0에 근접한다. 수직/수평 길이비 는 1.0을 넘으면 수직방향으로 늘어난 기공이라는 것을 나타낸다.
연소합성이 끝난 시료에 대하여 XRD(JDX-35HS JEOL) 측정을 통하여 정성분석을 실시하였으며, 자유발포 및 할 로우 파이프 내의 충진거동을 조사하기 위하여 SEM (JSM-7100F JEOL)을 이용하여 관찰하였다.
3. 실험 결과 및 고찰
3.1 Al-Ni계 전구체의 연소합성 발포
연소합성반응 및 반응 후의 조직은 분말혼합조성, 분 말입경이나 분말성형압력 등의 영향을 강하게 받는다. 따 라서 먼저 본 실험조건으로 제작한 Al-Ni 전구체가 연 소합성반응에 따라 Al3Ni가 생성하는지를 조사한 결과를 기술한다. Al-Ni 전구체를 저항가열 히터 위에 설치하 고, 그 과정을 조사한 결과 본 실험조건으로 제작한 Al- Ni 전구체는 가열부인 하단부에서 반응을 시작하고, 반 응이 끝났을 때에는 비가열부인 전구체 상부까지 반응 열에 의해 붉게 달구어진 것이 확인되어 연소합성반응 이 일어난 것을 알 수 있었다.
Fig. 3은 연소합성이 끝난 시료를 X선 회절(XRD) 측 정기를 이용하여 정성분석을 실시한 결과이다. Al3Ni, TiB2, TiC의 피크가 검출되었고, 전구체에 사용한 원료 분말이 반응식 (1), (2)에 나타낸 연소반응에 의해 금속 간화합물과 세라믹을 합성할 수 있다는 것도 확인되었 다. 또한, 전자현미경을 이용하여 조직관찰을 실시한 결 과, Al3Ni 매트릭스 내부에 TiB2, TiC 입자가 분산되어 있는 조직도 확인하였다.
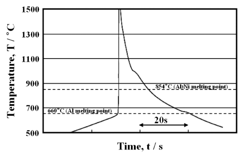
그 다음, 연소합성 시 전구체의 온도이력을 전구체에 삽입한 열전대를 이용하여 측정하였으며, Fig. 4는 측정 결과이다.
전구체는 Al 융점인 660 °C에 도달한 시점에서 급격 한 온도상승을 나타내었는데, 이것은 Al이 용해된 직후 에 연소반응이 일어났다는 것을 나타내는 것이다. 반응 열에 의해 시료온도는 Al3Ni의 분해점인 854 °C를 넘기 때문에 연소합성 동안에 액상이 생성된다는 것도 확인 되었다. 앞에서 설명한 것과 같이 액상이 형성될 때에 원료분말로부터 가스발생에 따른 다량의 기공이 생성된다.
3.2 할로우 파이프 설치에 따른 발포 특성변화
전술한 바와 같이, Al-Ni계 전구체의 연소합성반응을 이용하여 Al3Ni 폼을 제작할 수 있었다. 다음은 전구체 를 스틸 파이프 내에 설치하여 전구체의 발포특성에 미 치는 영향을 조사하였다. 서로 다른 승온속도(13 °C/min, 30 °C/min)로 제작한 시료의 단면을 Fig. 5에 나타내었다.

Fig. 5
Al3Ni foams filled in hollow pipe fabricated by heating rates of (a) 13 °C/min and (b) 30 °C/min.
승온속도가 13 °C/min일 때에는 시료 상부 및 하부의 발포형태가 균일하지만, 30 °C/min일 때의 하부는 기공 율이 높은 것에 반하여, 상부는 발포가 불충분하며 불 균일한 포러스한 구조로 되어 있는 것을 알 수 있다. 특 히, 스틸 파이프를 설치하지 않은 자유발포인 경우에는 30 °C/min에서도 균일한 기공이었다. 따라서 전구체 상부 및 하부에 열전대를 삽입하고 가열할 때의 온도이력을 측정하였다. 측정한 결과, 승온속도가 30 °C/min 조건에 서는 가열승온 시의 전구체 하부온도가 상부온도보다 10 °C 정도 높았다. 이것은 전구체를 파이프 내에 설치 함에 따라 전구체로의 복사에 의한 입열량이 감소하고, 시 료설치대와의 접촉면인 전구체 하단부로부터 열전도에 따 른 입열량이 증가하기 때문이다. 따라서 전구체 하부는 상부가 발포개시온도에 도달하기 전에 발포를 시작하여 불균일한 기공구조로 되었다고 판단된다. 승온속도가 13 °C/min인 경우의 전구체 상부와 하부온도를 측정하였 을 때는 이와 같은 온도차이는 나타나지 않았으며, 가 열과정일 때의 전구체 내부온도는 균일하였다. 따라서 이 후 실험에서는 승온속도를 13 °C/min으로 실시하였다.
3.3 할로우 파이프 내의 충진거동
전구체의 자유발포 및 할로우 파이프 내의 충진거동에 대하여 조사하였다. Fig. 6(a)는 전구체를 자유발포 시킨 시료, (b)와 (c)는 각각 내경 40, 30 mm인 스틸 파이프 내에서 제작한 파이프 내 발포시료의 단면사진이다. 자 유발포에 대해서는, 실제로 내경 63 mm인 흑연도가니 내 에서의 실험이지만 흑연도가니 내경은 전구체 외경에 비 해서 충분히 크기 때문에 자유발포라고 기술한다.

Fig. 6
Cross sections of Al3Ni foams fabricated (a) by free foaming, and in hollow pipes with inner diameters of (b) 40 mm and (c) 30 mm.
Fig. 6(a)에 표시한 흰색 사각형은 초기 전구체 크기 를 나타낸다. Fig. 6(a)에 나타낸 자유발포의 경우 Al-Ni 전구체는 거의 등방적으로 발포하며 기공율이 90 % 이 었다. 내경 40 mm인 파이프 내 발포의 경우 전구체는 발포하여 연직방향으로 80 mm 정도 늘어났으며, 내경 30 mm인 파이프 내 발포에서의 전구체는 발포에 의해 파 이프 내를 연직상방향으로 110 mm 정도 늘어났다. 이 때, 포러스한 재료는 파이프 내에 빈틈없이 충진되어 기 공율이 82 % 이었다. 이와 같이, 할로우 파이프 내에서 의 연소합성반응에서도 Al3Ni 폼은 높은 기공율을 유지 하며, 할로우 파이프 내의 우수한 충진성을 나타내었다.
Fig. 7은 스틸 파이프와 Al3Ni 폼과의 계면에 대해 SEM을 이용하여 관찰한 이미지이다. Al3Ni 폼은 스틸 파이프 내면의 미세한 요철을 따라 밀착해 있으며, 계 면에는 SEM으로 관찰될 수 있는 공극이나 계면반응층 도 없었다. 따라서 스틸 파이프와 Al3Ni 폼은 밀착성이 우수하다는 것을 알 수 있다.
3.4 기공형상 관찰
Fig. 8(a)는 자유발포에 의해 제작한 시료의 종단면 사 진을 흑백 화상처리한 것이며, (b)는 화상해석을 이용하 여 구한 각 기공에 상당하는 원의 직경(횡축)과 원형도 (종축)와의 관계를 나타낸 분포도 이다. Fig. 8(b)에 나 타낸 원형표시(○)는 평균값을 나타낸 점이다. 화상해석 결과, 자유발포에서는 원의 직경이 평균 2.7 mm, 원형도 는 평균 0.70으로 편차도 작으며 발포상태도 양호한 것 을 알 수 있다. 수직/수평 길이비는 평균 0.95로 등방적 인 형상이다.

Fig. 8
(a) Black-and-white image of Al3Ni foam and (b) distribution diagram of pore size and circularity (free foaming).
Fig. 9는 내경 40 mm인 스틸 파이프 내에서 발포한 Al3Ni 폼의 화상해석 결과로, 이 시료에서는 전구체가 파 이프 내를 반지름방향과 동시에 장축방향으로도 팽창하 여 파이프 내에 충진되었다. 평균 원 직경 및 평균 원 형도는 각각 3.2 mm, 0.69이며, 자유발포 시료에 비하여 기공 사이즈가 커지는 경향이 나타났지만, 원형도는 커 다란 차이는 보이지 않았다. 수직/수평 길이비는 1.2로 약 간 파이프 축방향으로 늘어난 형상이다.

Fig. 9
(a) Black-and-white image of Al3Ni foam and (b) distribution diagram of pore size and circularity (foamed in pipe of 40 mm inner diameter).
Fig. 10은 내경 30 mm인 파이프 내에서 발포한 Al3Ni 폼의 화상해석 결과로, 평균 원 직경 및 원형도는 각각 3.4 mm, 0.58이었다. 수직/수평 길이비 평균은 1.61로 기 공이 수직방향으로 늘어난 경향이 더욱 확실하게 나타 났다. 이와 갈은 현상은 파이프 내경이 작은 시료에서 는 전구체가 파이프 축방향으로 늘어난 양이 많기 때문 이다. 파이프 축방향으로 늘어난 기공은 파이프와의 계 면부근에서 많이 관찰되었다.

Fig. 10
(a) Black-and-white image of Al3Ni foam and (b) distribution diagram of pore size and circularity (foamed in pipe of 30 mm inner diameter).
Fig. 11은 수직단면 내 기공의 화상해석을 시료중심부 (r = 0~7.5 mm) 및 파이프와의 계면부근(r = 7.5~15 mm)으 로 나누어 수직/수평 길이비를 해석한 결과이다. 파이프 부근에서는 수직/수평 길이비가 2.0을 넘는 기공이 많이 관찰되어 기공형상의 불균일성을 나타내었다. 특히 시료 중심부에는 조대한 기공이, 파이프 부근에는 미세한 기 공이 존재하는 경향을 나타내었다. 이것은 전구체가 발 포하여 파이프에 접촉되면 파이프와의 접촉부분에서 연 소합성에 의한 반응열을 빼앗기기 때문에 파이프 계면 부근에서는 Al-Ni 용융액이 짧은 시간에 응고하며, 전구 체 중앙부에 비하여 기공이 성장하는 시간이 짧기 때문 이다.

Fig. 11
(a) Black-and-white image of Al3Ni foam and (b) distribution diagram of pore size and vertical/horizontal fillet diameter ratio (foamed in pipe of 30 mm inner diameter).
Fig. 12 및 13은 각 화상해석 결과를 파이프 내경에 대하여 정리한 것이다. 자유발포는 내경 63 mm인 흑연 도가니 내에서 실시하였기 때문에 가로축을 63 mm로 하 여 플로트 하였다. 파이프 내 발포는 측면으로부터 구 속을 받아 팽창이 억제되기 때문에 자유발포와 비교하 면 기공율이 저하하지만, 파이프 내경이 30 mm, 40 mm 어느 경우에도 80 % 전후의 높은 값을 나타내었다. 내 경이 30 mm인 파이프 내에서 발포한 시료는 내경 40 mm인 시료에 비하여 기공율이 높은데, 이 원인은 파이 프 내경이 작으면 Fig. 6에 나타낸 것과 같이 가늘고 길 게 늘어난 형상으로 되기 때문에 발포도중 용융상태인 재료의 침강현상14)이 억제되는 것을 생각할 수 있지만, 명확한 이유에 대해서는 검토가 필요하다.

Fig. 13
Circularity and vertical/horizontal fillet size ratio of pores in Al3Ni foam fabricated by free foaming and in hollow pipes.
파이프 내 발포시료의 기공 크기는 자유발포에 비하여 큰 것을 알 수 있는데, 이것은 파이프에 의해 용융 시 폼의 형상이 지지되기 때문에 조대한 기공이 폼의 응고 후에도 잔존하기 때문이다. 수직/수평 길이비는 파이프 내 발포에 의해 기공이 파이프 축방향으로 늘어나는 것이 확실하며, 이것에 따라 원형도도 저하한다.
4. 결 론
금속간화합물 폼과 할로우 재료와의 복합구조체의 제 조프로세스 개발을 목적으로 스틸 파이프 내 Al-Ni 전 구체의 연소합성발포에 대해서 파이프 내 충진성 및 기 공형태를 조사하여 다음과 같은 결과를 얻었다.
(1) Al-Ni 전구체를 할로우 파이프 내에서 발포시켰을 때, 전구체 내부의 온도분포가 불균일하면 기공형상분포 도 불균일하게 된다.
(2) 자유발포에서는 발포방향에 이방성은 나타나지 않 았으며 기공형상도 등방적 이지만, 할로우 파이프 내에 서는 파이프축 방향으로 팽창하여 파이프 내를 빈틈없 이 충진되었다.
(3) Al3Ni 폼과 스틸 파이프와의 계면 밀착성은 우수 하였으며, 계면공극이나 반응층은 SEM관찰에서는 나타 나지 않았다.
(4) 자유발포에서는 기공율이 90 %이지만, 파이프 내 발 포에서는 80 % 정도까지 감소하였다.
(5) 파이프 내 발포에서는 파이프 근방부에서 파이프 축 방향으로 늘어난 기공형상이 대부분 나타났으며, 이 경향성은 파이프 내경이 작은 경우에 더욱 현저하게 나 타났다.
(6) 파이프 내 발포는 자유발포에 비해서 기공 크기가 커지는 경향이 있다.







